Login
Adresse email
Mot de passe
Confirmez votre Mot de passe

Lense

Des capteurs d’empreintes sur les boîtiers et optiques Canon ?

Canon vient de déposer un brevet concernant un système de capteur d’empreintes digitales directement intégré sur les boîtiers reflex et sur les optiques. La marque japonaise pourrait ainsi proposer plus de sécurité, mais aussi une personnalisation des fonctionnalités.

Le capteur d’empreintes digitales est rapidement devenu la norme pour les nouveaux smartphones moyen et haut de gamme. Ils permettent de sécuriser l’accès à l’appareil et d’autres fonctions comme, par exemple, l’authentification lors d’un paiement en ligne.

Intéressée par les possibilités offertes à ses clients qui possèdent des optiques et des boîtiers de la marque, Canon a ainsi déposé un brevet en ce sens. Ce dernier est assorti de croquis et d’explications qui montrent que le fabricant vise plus qu’une simple sécurité contre le vol.

Le capteur pourrait aussi servir à personnaliser les fonctions accessibles à différents utilisateurs préalablement enregistrés dans des profils, en plus de l’utilisateur principal.

Une implémentation à même le boîtier ou l’optique

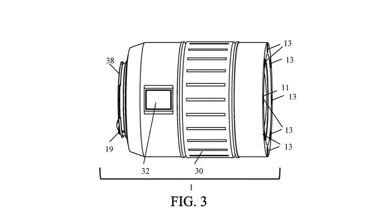
Le brevet déposé par Canon concerne l’implémentation de cette technologie d’authentification par empreintes digitales à la fois sur des boîtiers et sur des optiques, comme le montrent les schémas ci-dessous.

Un déverrouillage pour pouvoir utiliser l’appareil

Le premier intérêt d’un tel système serait en effet de limiter le vol de matériels photo. En effet, seuls des utilisateurs enregistrés pourraient déverrouiller l’appareil ou l’optique équipés du dispositif. On sait que ce genre de technologie est plutôt dissuasif avec les smartphones. Il pourrait réduire de la même façon l’intérêt que suscitent vos matériels photo chez les personnes mal intentionnées.

On pense aussi aux photojournalistes qui ont parfois suggéré aux fabricants de donner la possibilité de crypter les images pour éviter la censure dans certains pays. Un système de capteur d’empreintes pourrait aller dans ce sens. Même si, comme pour le cryptage, cela ne résoudra pas tous les problèmes.

Un bémol, pour ceux dont le métier nécessite une rapidité de réaction, le capteur d’empreintes digitales obligera à effectuer une action supplémentaire. Un souci qui peut se résoudre si l’authentification est instantanée ou désactivable.

De manière générale, un des risques d’un tel système pourrait être de rendre fastidieux le démarrage de l’appareil, le changement d’optiques, et donc de faire perdre du temps dans des situations où la rapidité est essentielle. Il faudra aussi que le système ne soit pas le talon d’Achille en termes de solidité ou même de fiabilité, surtout sur un boîtier pro. Se retrouver avec un matériel inutilisable à cause d’un capteur capricieux ou abîmé n’est pas une option. Mais Canon travaille certainement sur ce point.

Personnaliser l’accès au boîtier

Selon le brevet, le capteur d’empreintes serait configuré pour identifier les utilisateurs selon une hiérarchie à déterminer par l’utilisateur principal. Des contrôles d’accès permettraient ainsi de donner accès à telle ou telle fonction à certaines personnes.

Sans entrer dans les détails, on voit que Canon ne compte pas simplement déverrouiller l’accès, mais bien permettre un contrôle beaucoup plus fin en fonction des droits accordés à chaque personne.

Il sera peut-être aussi possible d’être plusieurs à utiliser un boîtier, et de récupérer ses réglages propres grâce à ce type de personnalisation. On pourrait ainsi le prêter à son enfant ou une personne peu expérimentée en photo avec le passage en mode automatique ou, dans un studio, donner accès selon le photographe à un menu totalement personnalisé.

Dans quels types de boîtiers et optiques ?

Dans un premier temps, et si le brevet se transforme en réalité, de telles fonctionnalités et le coût de leur implémentation seront certainement réservés aux boîtiers et optiques professionnels de la marque. La gamme 1D X et les optiques L pourraient ainsi être les premières à en bénéficier.

Ensuite, rien n’empêcherait Canon d’élargir cette approche aux hybrides, bridges et mêmes appareils compacts. On peut se prendre à imaginer que, dans le futur, l’appareil familial permette à un enfant de prendre et regarder uniquement ses propres photos. Encore faut-il que tout cela ne reste pas qu’au stade du brevet.

Source : United states Patent and Trademark Office 

commentaire

Ajouter le vôtre

Laissez un commentaire

Laissez un commentaire

Devenir Lenser