Login
Adresse email
Mot de passe
Confirmez votre Mot de passe

Lense

Canon 14-21 mm f/1,4 : un brevet étaye la rumeur

Propagée par le site internet Canon Rumors, la rumeur du développement d’un objectif 14-21 mm f/1,4 en monture RF parcourt le Web. Bien qu’aucune annonce officielle ne soit à l’ordre du jour, un brevet déposé par Canon étaye quelque peu cette information.

Si les nouveaux appareils hybrides 24×36 Canon essuient un certain nombre de critiques, le statut d’opticien hors pair dont bénéficie le constructeur nippon reste plus que jamais d’actualité. En sus de proposer à ses clients un impressionnant parc optique en monture EF, la marque a ainsi affirmé à plusieurs reprises vouloir profiter de sa nouvelle monture RF pour concevoir des objectifs inédits. Premier exemple de cette ambition, l’optique 28-70 mm f/2 L USM surprend autant par sa grande ouverture de diaphragme que par ses dimensions.

Selon Canon Rumors, le développement d’un zoom ultra grand-angle 14-21 mm f/1,4 s’inscrirait dans le même effort de création d’optiques hors-normes. Alors que différents constructeurs d’appareils hybrides ont tenté au cours des dernières années de se démarquer des reflex grâce à l’argument de la miniaturisation du matériel de prise de vue, Canon les prendrait à contre-pied en développant des objectifs dont les performances optiques n’auraient d’égal que la taille.

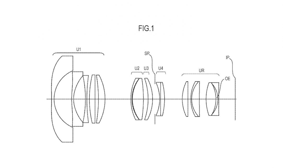
Si l’identité de la source de Canon Rumors annonçant la commercialisation de ce 14-21 mm f/1,4 en 2020 reste à ce jour inconnue, la rumeur est nourrie par l’existence d’un brevet déposé par Canon le 26 avril 2018 et validé par l’USPTO (United States Patent and Trademark Office) le 1er novembre de cette même année. Plutôt qu’un unique objectif, ce brevet mentionne en fait trois modèles de zooms ultra grand-angle à grande ouverture : un 12-20 mm f/2, un 14-21 mm f/1,4 et un 16-32 mm f/2,8. S’il convient de rappeler que ce type de brevet ne se substitue en rien à une annonce officielle, nul doute que de telles optiques feraient plaisir aux passionnés d’astrophotographie.

Source : USPTO

commentaire

Ajouter le vôtre

Laissez un commentaire

Laissez un commentaire

Devenir Lenser