La stabilisation du capteur est une des nouvelles technologies embarquées dans les boîtiers les plus récents, comme le tout nouveau Fujifilm X-H1. Canon a récemment déposé un brevet pour son propre système. Il devrait donc logiquement doter certains de ses prochains appareils de cette technologie.
Un brevet a été publié ce 8 février dernier sur le site de l’ « United States Patent and Trademark Office ». Il montre que Canon travaille sur des capteurs stabilisés. Alors que les premiers appareils équipés de cette technologie sont déjà sortis, Canon pourrait vouloir rattraper son retard.
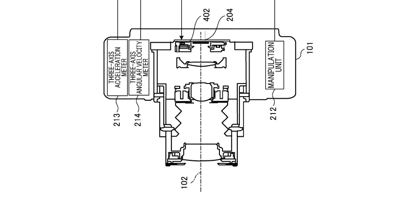
Que dit ce brevet ?
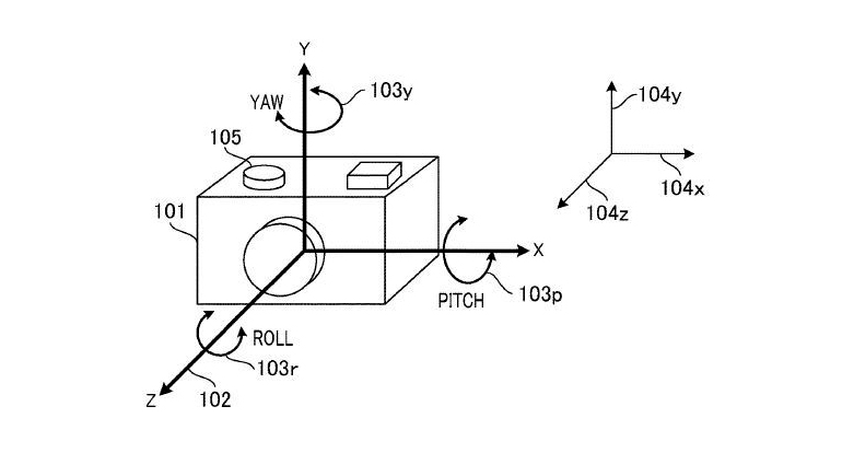
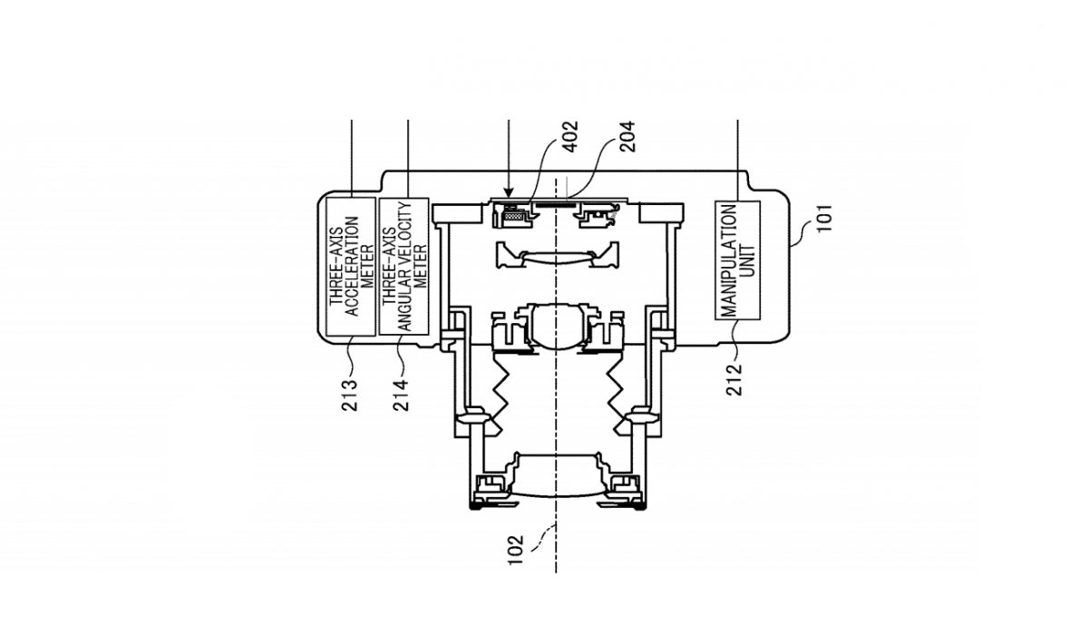
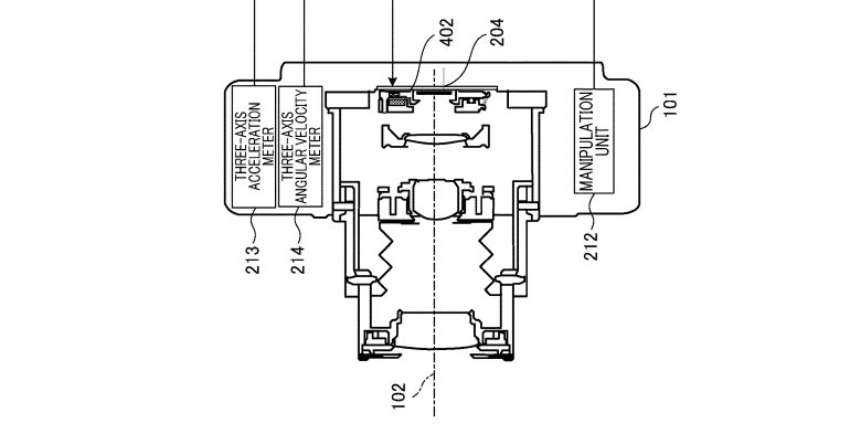
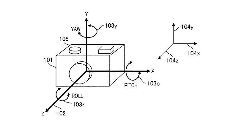
Canon a déposé son brevet en octobre 2017, et sa publication vient juste d’avoir lieu. Elle indique clairement que Canon travaille sur une stabilisation sur 3 axes basée sur le capteur. Canon explique ainsi que sa technologie permet de réduire le flou ou l’inclinaison du boîtier générés par les tremblements.
De manière générale, la stabilisation du capteur consiste à rendre le capteur mobile grâce à un système complexe de capteurs (gyroscopes et accéléromètres). Ceux-ci sont couplés à des processeurs qui effectuent des centaines de calculs en temps réel. Le tout permet de compenser les mouvements involontaires de l’appareil sur plusieurs axes. Ce système a donc pour mission de compenser ces micro-mouvements et vibrations de l’appareil, et ainsi de les réduire.
Pour ceux qui voudraient plus de détails, voici le lien vers les 48 pages qui décrivent en détail la technologie et les solutions mises en oeuvre.
Avantages et inconvénients de la stabilisation du capteur
La stabilisation du capteur est une solution qui a de nombreux avantages, et quelques inconvénients.
Du côté des avantages, on trouvera d’abord le fait de pouvoir utiliser des optiques non stabilisées. En plus d’être moins chères à l’achat, elles sont aussi plus légères, et moins fragiles. Les optiques d’autres marques ou anciennes, utilisées avec des adaptateurs, peuvent aussi bénéficier de cette stabilisation.
Autre avantage, lorsque vous changerez votre boîtier où qu’il sera mis à jour, toutes vos optiques bénéficieront des améliorations de la stabilisation optique. Jusqu’ici, pour obtenir le même résultat, il aurait fallu acheter de nouvelles optiques à chaque progrès dans ce domaine.
En ce qui concerne les inconvénients, en l’état actuel des technologies, l’utilisation de ce type de stabilisation avec un système de visée Pentaprisme (reflex) est moins confortable. Contrairement à une stabilisation optique, elle n’est pas visible dans le viseur.
Cela signifie que si l’image prise sera bien stabilisée, les tremblements seront eux visibles dans le viseur. Pas vraiment gênant sur des focales courtes, cela pourrait être inconfortable sur des focales plus longues.
On sait aussi que les optiques zoom avec de longues focales sont réputées pour être moins adaptées à une stabilisation par le capteur. En effet, les mouvements à de longues focales sont très amplifiés. C’est pour cela que les stabilisations pour ces optiques sont très avancées. Il n’est pas certain que la stabilisation du capteur soit aussi efficace, même s’il faudra voir ce que les progrès dans ce domaine permettent.
Une limite connue concerne aussi la prise de vue en basse lumière. Dans le cas où le mouvement est compensé par le capteur, la précision de l’autofocus et de la mesure d’exposition sont souvent mis en difficulté.
Quoi qu’il en soit, la stabilisation par le capteur est désactivable, et il est possible de passer à une stabilisation par l’optique. Pas de raison donc de se priver de la possibilité d’avoir cette technologie dans son boîtier.
A quand la stabilisation du capteur dans les boîtiers Canon ?
Le brevet ayant été publié, on peut espérer voir arriver « rapidement » des produits équipés de cette technologie chez Canon. Bien sûr, tout dépendra de la stratégie de Canon dans ce domaine.
Canon va-t-il réserver cette technologie à ses prochains boîtiers professionnels, comme par exemple un éventuel 5D Mark V ou 1DX Mark III ? Les prochains hybrides de Canon intégreront-ils aussi cette stabilisation du capteur ?
Pour l’instant, et si on s’en tient à ce brevet, Canon travaille activement sur le sujet. Et c’est évidemment une bonne nouvelle.

0 commentaire
Ajouter le vôtre