Récemment accepté par l’USPTO (United States Patent and Trademark Office) et repéré par le site internet Patently Mobile, un brevet déposé par Samsung il y a près de deux ans dessine les premières lignes d’un stylet pour smartphones équipé d’un appareil photo.
Après la multiplication des modules photo à l’arrière de nos smartphones, puis le développement de systèmes coulissants pour cacher l’appareil dédié aux selfies, et enfin la miniaturisation extrême de ce dernier pour le réduire à un simple orifice, quelle tendance pourrait donc faire évoluer les dispositifs photographiques des futurs terminaux mobiles ? Selon Samsung, la réponse à cette question résiderait potentiellement dans l’intégration d’un appareil photo doté d’un zoom optique au sein d’un stylet.
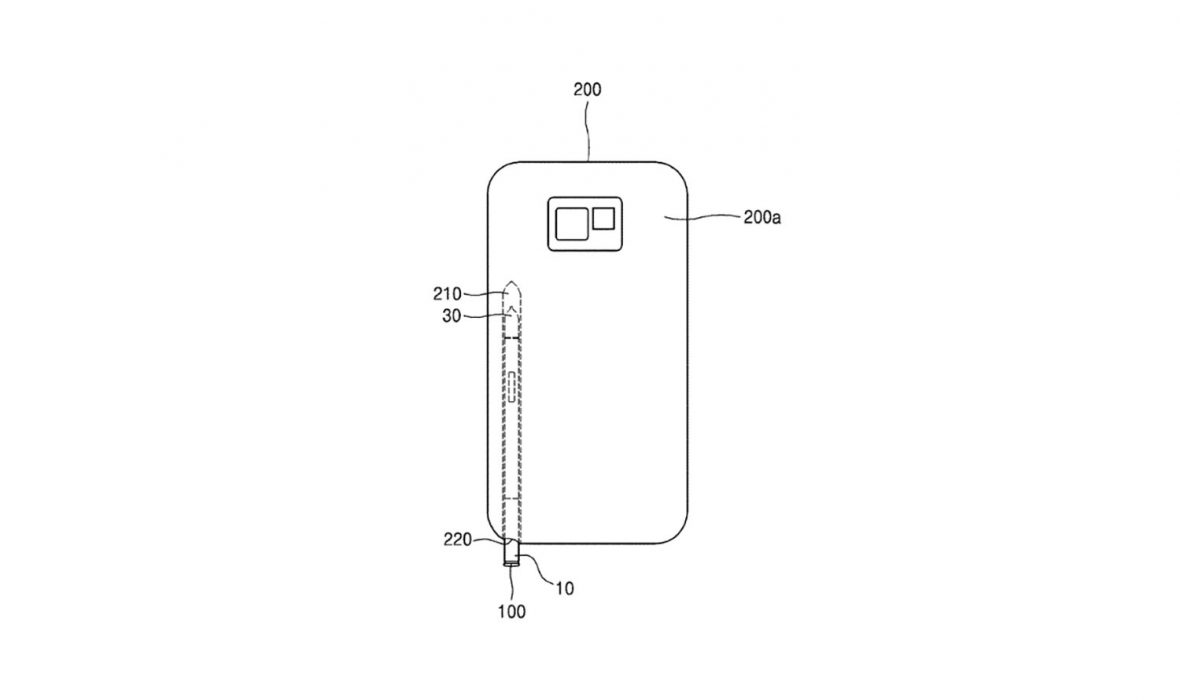
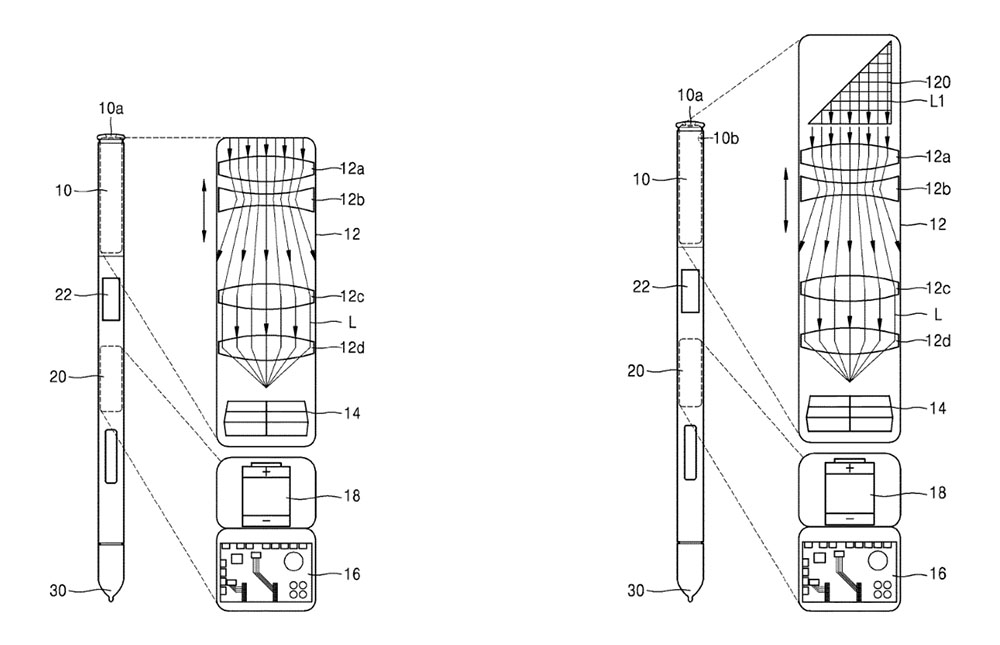
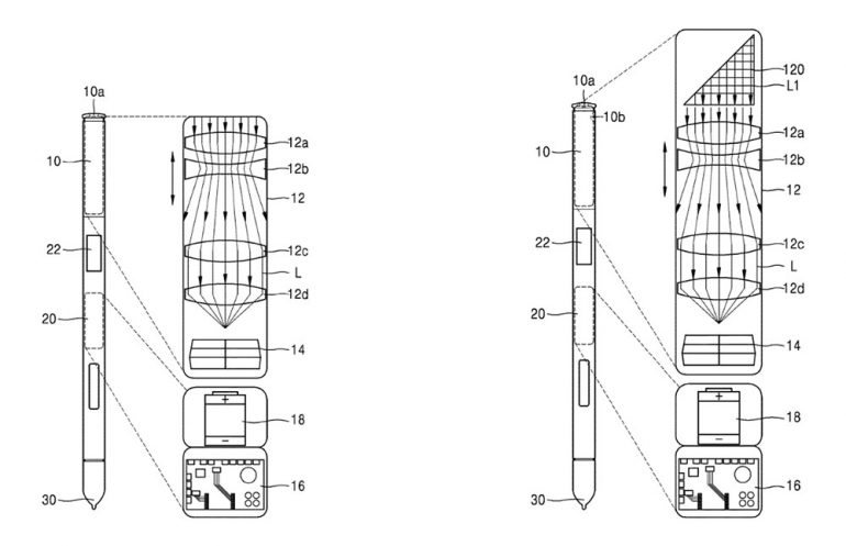
Logiquement baptisé « Electronic pen device having optical zoom » (« Dispositif de stylo électronique équipé d’un zoom optique »), ce brevet décrit un stylet relativement similaire à celui des smartphones de la gamme Samsung Galaxy Note, à ceci près qu’il intégrerait à la fois un capteur photo, un zoom optique, un ou plusieurs boutons externes permettant de contrôler ce dernier, ainsi qu’une interface de communication sans fil autorisant le transfert des données capturées à un dispositif externe (terminal mobile ou ordinateur).
Rappelant grandement les systèmes – réels et fictionnels – attribués aux espions, une telle technologie aurait notamment pour intérêt de débarrasser la face avant d’un smartphone d’un module photo désormais jugé trop encombrant par de nombreux constructeurs. Et si l’extrême miniaturisation d’un tel dispositif de prise de vues ne va pas sans poser de problèmes, la longueur du stylet pourrait en effet être mise à profit pour intégrer un zoom optique.
Le brevet de Samsung envisage d’ailleurs deux solutions distinctes : la première placerait la lentille frontale de l’APN à l’extrémité du stylet, tandis que la deuxième la positionnerait sur la tranche du stylet et bénéficierait d’un zoom périscopique – un prisme dévie alors à 90° la lumière entrant par la lentille frontale afin de la rediriger vers la surface photosensible. Notons d’ailleurs que le récent rachat de l’entreprise israélienne Corephotonics par Samsung permet désormais à la firme sud-coréenne de considérer sérieusement ce type de système optique.
Source : USPTO

0 commentaire
Ajouter le vôtre