Samsung a déposé un brevet concernant un nouveau type d’écran. Ce dernier fait le tour du smartphone par le dessus, et permettrait ainsi de proposer de nouveaux usages, notamment en photo.
L’avenir des smartphones passe par de nouvelles formes d’écran. Si le Galaxy Fold, annoncé il y a quelques jours, est une première vision des usages permis par les écrans flexibles, Samsung a aussi déposé un brevet dès 2016 qui montre une toute autre utilisation de ce nouveau type d’écran.
Un écran qui fait le tour du smartphone par le dessus
C’est une forme unique qui est proposée avec ce brevet déposé en 2016 auprès de l’USPTO (l’office des brevets et des marques aux Etats-Unis). Or le site Let’s Go Digital a repéré que ce brevet nommé “Dispositif électronique à affichage multiple et procédé pour le contrôler” vient d’être approuvé et publié ce 25 avril 2019 par l’office mondial de la propriété intelectuelle (WIPO).
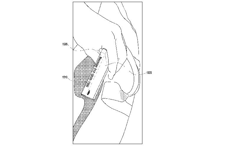
Le concept est assez simple : un écran fait en effet le tour du smartphone, pour être visible sur les deux faces. Mais au lieu de passer par le côté, ce design en continu passe par le dessus du smartphone. Un des problèmes que l’on pourrait imaginer est la disposition des caméras sur un tel écran. Le brevet montre que la caméra principale, en plus d’être l’unique caméra, pourrait être intégrée à même l’écran, parmi différentes possibilités.
De nouvelles possibilités en photo
Un des intérêts de ce type de conception pourrait se situer en photo, où les avantages sont indéniables, aussi bien pour photographier une autre personne que pour réaliser un selfie.
En effet, il serait ainsi possible de prendre une photo d’une personne tout en lui permettant de se voir au moment où vous prenez la photo, au dos de l’écran. Comme le montre un des schémas accompagnant le brevet, la personne photographiée pourrait aussi voir un compte à rebours montrant à quel moment sera prise la photo, lui permettant de prendre la pose parfaite au moment idéal.
En utilisation selfie, cela permettrait d’utiliser l’appareil photo principal au lieu de l’appareil photo dédié aux selfies, toujours moins qualitatif. En effet, il suffirait alors de basculer l’image de l’autre côté du smartphone. Et pour Samsung, cela signifierait qu’il n’y aurait plus besoin d’un appareil différent pour les selfies.
Quelles autres usages ?
Samsung semble avoir réfléchi à de nouvelles applications rendues possibles par ce genre d’écran. Sur les dessins qui accompagnent le brevet, on peut d’ailleurs voir une des idées de nouveaux usages : la traduction instantanée.
Sur le schéma ci-dessous, on peut en effet voir qu’en traduction, il serait possible avec ce type d’écran d’écrire ou parler d’un côté de l’écran et de pouvoir afficher la traduction en temps réel sur l’écran dorsal.
Un autre schéma montre que Samsung pense à utiliser le bord incurvé au sommet du smartphone pour par exemple afficher des notifications. L’idée n’est pas nouvelle, mais pourrait être intéressante puisque la bordure utiliserait vraiment tout l’espace du bord.
L’alternative à la présence de deux écrans
Avec cette approche, Samsung aurait donc une stratégie différente des acteurs qui choisissent actuellement de proposer deux écrans distincts sur les deux faces de l’appareil, comme le Vivo Nex ou le Nubia X présenté au dernier CES.
Pas sûr cependant qu’on voie arriver un tel smartphone sur le marché. Les marques ont en effet tendance à protéger de simples idées à l’avance. Elles cherchent ainsi à éviter qu’un concurrent ne fasse la même chose avant eux, et leur interdise de réaliser ce type de design. Il est donc tout à fait possible que Samsung surveille du coin de l’œil l’arrivée de smartphones à deux écrans. Et en attendant de voir si ce type de smartphone intéresse vraiment les utilisateurs, ils ont peut être simplement déposé une solution “maison”, juste au cas où.
Il ne reste plus qu’à attendre savoir si ce projet est sérieux ou s’il s’agit d’un simple pré-positionnement de principe. Dans tous les cas, on sait que les prochaines générations de smartphones miseront sur de nouveaux concepts d’écrans pour se réinventer. La présence de deux écrans est une des possibilités, même si la tendance est à un tout autre concept : l’écran repliable, permettant d’avoir dans la poche un smartphone capable de faire office de tablette.
Samsung est bien présent sur ce nouvel Eldorado avec son Galaxy Fold, mais aussi Huawei avec le Mate X, Xiaomi avec le Mi Flex, ou encore la marque Royole avec son Flexpai. Et on sait que d’autres marques travaillent aussi à proposer cette nouvelle génération de smartphone pliable.

0 commentaire
Ajouter le vôtre