La firme à la pomme semble bien déterminée à préparer le terrain pour l’appareil photo de son prochain iPhone.
Entre sa nouvelle recrue « volée » chez Nokia et son brevet fraîchement déposé, voici de nouvelles pistes sur ce que sera le prochain capteur photo sur iPhone.
…………………………
Première nouvelle donc, Ari Partinen rejoindrait l’équipe Apple pour travailler sur les appareils photo de la marque.
Cet ancien de chez Nokia de la technologie PureView, qui rappelons le, permettait d’obtenir une superbe qualité d’image sur des smartphones comme le 808 et le Lumia 1020.
…………………………
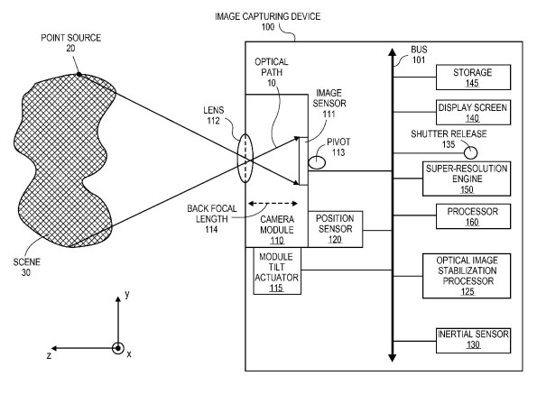
Dans la même veine, un nouveau brevet déposé par Apple se base sur l’utilisation du stabilisateur d’image pour créer des photos en haute résolution. Comment cela ?
Cette technique permettrait en fait de prendre une série d’images, décalées grâce au stabilisateur avec des angles légèrement différents. Une fois ces fichiers réunis ensembles cela crée une photo avec une résolution bien plus grande et meilleur.
Une technique qui ressemble grandement au procédé utilisé sur le H4D-200MS d’Hasselblad.
Pas de doute, dans la concurrence du marché smartphone, l’appareil photo est devenu le nerf de la guerre !
…………………………
+ via The Verge
+ via AppleInsider

1 commentaire
Ajouter le vôtreJe doute quand même que la résolution de l’appareil photo de l’iPhone 6 aie une résolution énorme. Apple est tout de même plus reconnu pour proposer un excellent rapport qualité/poids.
Et c’est normal. Avec une mémoire limitée à 16GB dans la plupart des iPhones vendus, je vois mal Apple commencer à proposer du 40MPixels comme certains Nokia.
Cependant quelques mégapixels en plus pourraient être envisageables.