L’accessoiriste Chinois Yongnuo a récemment déposé un brevet confirmant son ambition de proposer un système combinant smartphone et module photo, après ses premiers essais de ces dernières années.
Yongnuo a réussi à se faire un nom dans la photo, au départ avec ses flashs, puis en tant que fabricant d’optiques tierces à très bas prix. Mais depuis quelques temps, l’entreprise cherche à se positionner sur de nouveaux marchés. Elle a pour cela lancé des solutions pour le moins originales. On se rappellera par exemple le Yongnuo YN43. Il s’agit d’un module photo à fixer sur son smartphone qui faisait penser au concept développé par Sony avec les QX10 et QX100.
Plus récemment, Yongnuo avait étonné tout le monde en annonçant un hybride Android en monture Canon EF, le Yongnuo YN450M. Le concept repose sur un boîtier compact, un capteur 4/3, et un adaptateur. S’il n’est pas encore sorti (prévu à l’origine en avril dernier), il semble que certaines personnes testeraient actuellement cet appareil, en attendant une possible commercialisation.
Mais Yongnuo semble ne pas vouloir s’arrêter là, et le brevet qui a été déposé le mois dernier propose une nouvelle solution originale.
Un système modulaire unique en son genre
Selon le brevet, Yongnuo travaillerait sur un système basé sur deux modules, dont un serait un smartphone spécialement conçu pour ce système.
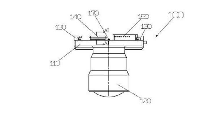
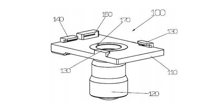
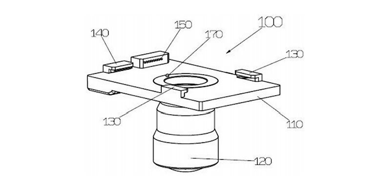
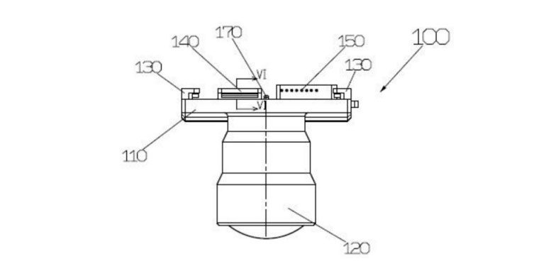
Le smartphone serait alors greffé au module pour créer un appareil photo plus qualitatif. Ce smartphone serait différent en ce qu’il comporterait au centre de son dos le capteur photo. On peut l’apercevoir sur le croquis ci-dessous.
Cela pose la question du système proposé pour protéger ce capteur en utilisation smartphone seul. On imagine mal en effet d’utiliser un capuchon au dos d’un smartphone, comme sur un appareil photo, même très fin.
L’intérêt de cette approche serait de proposer à la fois un smartphone qui serait optimisé pour la photographie aussi bien sur le plan des performances que sur le plan logiciel, sans parler du grand capteur photo intégré. On ne sait pas à ce stade si le smartphone seul aurait aussi des capacités photo, ou s’il serait totalement dépendant du module pour cela.
L’utilisation du module photo permettrait de proposer un système offrant les avantages qualitatifs et ergonomiques d’un appareil photo traditionnel. On voit en effet par exemple que le module comporte un grip pour une meilleure prise en mains.
Mais en lisant le brevet, on constate que Yongnuo a surtout cherché à ce que le système de connexion physique entre le smartphone et le module soit parfaitement aligné. C’est un point indispensable pour proposer une qualité d’image optimale. Yongnuo explique ainsi que le problème avec les systèmes d’optiques développées pour les smartphones est limité par le système de fixation.
Fixation mécanique ou par glissière
Deux modes de fixation du smartphone au module photo sont présentés dans le brevet de Yongnuo. Le premier, le plus complexe, implique des contacts et une fixation mécanique.
Le second système semble beaucoup plus simple, et plus compatible avec le design d’un smartphone actuel. Il s’agit d’un système de glissière, qui aurait aussi l’avantage de constituer un ensemble très stable.
Yongnuo envisage en tout cas à ce stade les deux options.
Optique fixe ou interchangeable ?
Le brevet propose différentes options. La préférence semble aller à un système d’optique zoom, non interchangeable. Mais le descriptif du brevet explique que ce système pourrait aussi être équipé d’une optique fixe. Et il ne ferme pas non plus la porte à un système différent.
Dans le concept actuel, Yongnuo semble en tout cas privilégier un corps monobloc pour ce module, sans possibilité de changer d’optique.
Une solution à optiques interchangeables aurait tout son intérêt, si Yongnuo reprenait par exemple le concept de son dernier appareil, qui permet d’utiliser des optiques Canon.
Le concept modulaire : un défi ambitieux
Si l’idée est excellente sur le papier, elle a aussi un point faible : le smartphone dédié. Devoir acheter un smartphone spécifique pour utiliser cet appareil est un pari risqué. Surtout pour Yongnuo qui n’est pas un fabricant de smartphones.
Les utilisateurs sont de plus en plus exigeants dans ce domaine. Difficile de croire qu’ils se contenteront d’un smartphone d’entrée de gamme juste pour pouvoir y adjoindre un module et réaliser des photos, même superbes. Dans tous les cas, il faudrait que le résultat photo obtenu soit vraiment hors normes.
Mais l’idée reste néanmoins originale. Pour le moment, personne n’a réussi à secouer le marché de la photographie avec cette approche combinant les avantages du smartphone et d’un module complémentaire. Des grands comme Sony s’y sont cassé les dents. Des appareils comme le DXO One ont presque réussi mais n’ont pas rencontré le succès escompté, et ont été abandonnés.
Les progrès des smartphones sont tels que le besoin d’obtenir de meilleurs résultats en photo ne concerne au final que les passionnés. Et pour ces derniers, le choix se porte alors plutôt vers un vrai boîtier photo, équipé d’optiques de qualité.
Alors, existe-t-il vraiment une place pour un concept se situant entre les deux ? Yongnuo semble toujours y croire. Affaire à suivre donc…
Source : Yongnuo via Lighting Rumors

0 commentaire
Ajouter le vôtre